分类
特 点 Features
● 体积小,性价比高。Small size, high cost performance.
● 压降<1V。The voltage drop is less than 1V.
● 电流10A至1000A。The current is 10a to 1000A.
● 金属壳体采用镀镍钢板和不锈钢大盖板组合式结构,美观大气,机械强度高,耐腐蚀性强。
The metal shell adopts the combined structure of nickel plated steel plate and stainless steel large cover plate, which is beautiful and atmospheric, with high mechanical strength and strong corrosion resistance.
应 用 Application
● 电波暗室、屏蔽房、电子方舱和机柜等设施的专用配套,能有效的抑制辐射干扰。The special supporting facilities of anechoic chamber, shielding room, electronic shelter and cabinet can effectively suppress radiation interference.
性能指标 Characteristcs
额定电压Rated voltage | 250VAC | 500VDC |
工作频率 Operating Frequency | 0~60HZ | |
耐压试验 Test Voltage | 1000VDC/2S(线-地Line - ground) 3000VDC/2S | |
电压降△V Voltage drop | <1V(额定工作条件Rated working conditions) | |
气候类别 Climate category | 25/070/21 | |
产品型号表 Filter Table
型号 model | 额定电流A Rated curren | 波导螺杆 Waveguide screw | 导线 wire | 外形尺寸Fig. Outline Drawing | 插入损耗dB insertion loss |
YX-10C-F | 10 | M16 | 14AWG | 1 | 100dB 备注:可拓展至40GHz |
YX-16C-F | 16 | M16 | 12AWG | 1 | |
YX-32C-F | 32 | M24 | 10AWG | 2 | |
YX-50C-F | 50 | M24 | 8AWG | 2 | |
YX-65C-F | 65 | M24 | 6AWG | 2 | |
YX-80C-F | 80 | M24 | 6AWG | 3 | |
YX-100C-F | 100 | M24 | 4AWG | 3 | |
YX-150C-F | 150 | M24 | 2AWG | 3 | |
YX-200C-F | 200 | M33 | 1/0AWG | 4 | |
YX-250C-F | 250 | M33 | 70mm2 | 4 | |
YX-300C-F | 300 | M33 | 95mm2 | 4 | |
YX-400C-F | 400 | M42 | 25×6 | 5 | |
YX-500C-F | 500 | M42 | 25×6 | 5 | |
YX-600C-F | 600 | M48 | 30×8 | 6 | |
YX-800C-F | 800 | M48 | 30×8 | 6 | |
YX-1000C-F | 1000 | M72 | 50×10 | 7 |
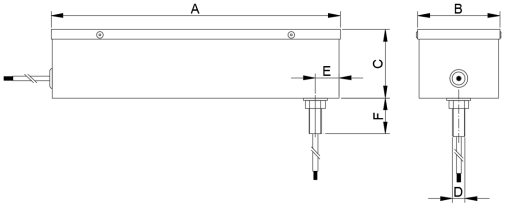
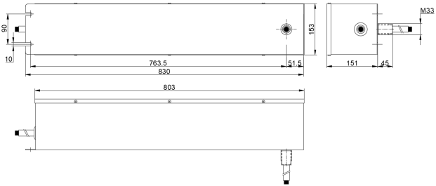
外形尺寸图 Outline Drawing : mm
Fig.1~Fig.3(10A~150A)

Fig.4 (200A~300A)

Fig.5~Fig.7 (400A~1000A)

外形尺寸Fig. | A | B | C | D | E | F | G | H | I | J | K | L |
1 | 363 | 103 | 86 | M16 | 30 | 45 | / | / | / | / | / | / |
2 | 363 | 133 | 101 | M24 | 30 | 45 | / | / | / | / | / | / |
3 | 523 | 133 | 101 | M24 | 30 | 45 | / | / | / | / | / | / |
5 | 883 | 153 | 151 | M42 | 90 | 10 | 845 | 920 | 60 | 45 | 6 | 25 |
6 | 883 | 153 | 221 | M48 | 90 | 10 | 845 | 920 | 60 | 65 | 8 | 30 |
7 | 933 | 153 | 266 | M72 | 110 | 10 | 865 | 960 | 80 | 95 | 10 | 50 |
CopyRight © 2025 常州市南宫ng28有限公司 版权所有 苏ICP备2022034447号-1 网站地图 所有标签 免责声明 中环互联网常州网站建设